Die Gerüchte um eine Smartwatch von Apple reißen nicht ab. Bisher gingen alle von der iWatch aus. Kommt es jetzt ganz anders?

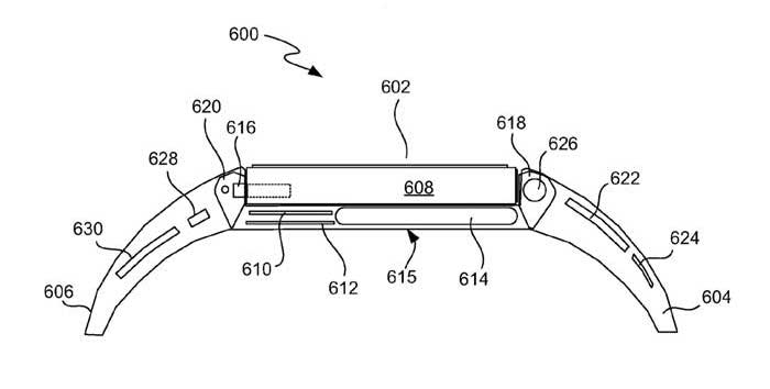
Die iWatch, so zumindest der bisher meist genannte Name für eine angebliche Smartwatch von Apple, ist schon sehr lange in den Kochtöpfen der Gerüchteküche zu finden. Mit dem nun veröffentlichten Patent wird ganz klar beschrieben, dass Bewegungssensoren sowie Module für WLAN und GPS vorhanden sind.
Weiterhin wird die Interaktion mit einem verbunden Smartphone beschrieben, das über eine API mit einem iPhone oder Computer verbunden werden kann. Zudem zeigt das Patent auf, dass Eingaben nicht nur per Touch und Knopfdruck erfolgen, sondern auch per Bewegungen der Smartwatch. So kann beispielsweise ein Schütteln das Annehmen eines Anrufs auslösen.
Ob Apples Smartwatch wirklich iTime heißen wird, ist allerdings unklar. Das Patent wurde schon im Jahre 2011 eingereicht, aber jetzt erst Apple zugesprochen. Viele Bilder oder Leaks von eventuellen Bauteilen gibt es aktuell nicht – außer natürlich unsere legendäre Ankündigung zur Keynote mit dem Slogan „It’s time„.
Im Anschluss möchten wir der Namensgebung auf den Grund gehen. Welchen Namen würdet ihr euch wünschen? Würdet ihr zu einer Smartwatch greifen? In den Kommentaren sind wir auf eure Meinungen gespannt.
[poll id=108]

ITime hört dich irgendwie nicht so knackig an wie iwatch
Das iphone heißt ja auch iphone und nicht iCall oder iRang
Name egal. Ist jedenfalls schon gekauft !
…und dafür liebt Dich Apple!;-)
Genau. Für die Dummheit, etwas kaufen zu wollen, das es noch gar nicht gibt und man nicht mal weiß, was es kann. Die Menschheit verblödet.
Scheiß Apple!!!!!!
Dann nimm doch sonn ollet plastik Koreaner Teil mit Android druff.
*lol* *lach* *feier* *gröhl*
Dummschwätzer. Du wirst auch bald wieder auf den Bäumen sitzen.
Wie wäre es mit einer Funktion wie bei YouTube, dass Kommentare mit zu vielen negativen Kommentaren ausgeblendet werden?
Ich würde die mir auch kaufen, nur hat sich Apple viel zeit dafür gelassen und die ganzen Gerüchte nerven wirklich.
Pebble smartwatch war dann die Erlösung (für mich zumindest weil android ein no-go für mich wäre) .
Es ist ja auch so schwer, ein Smartphone ohne „Smartwatch“ zu nutzen, da braucht man eine „Erlösung“. Mann, was es alles gibt.
Du weißt ja nicht wofür ich die Uhr verwende.
Aber das ist in Ordnung, ich werde dich aus deiner Dunkelheit erlösen 😀
1:beim Joggen und Fahrradfahren,
in Verbindung mit einem bluetooth Pulsmessgerät, dem iPhone und runtastic/roadbike bzw i smooth Run, Perfekt um alles in einem Gerät zu haben um alle Updates auf dem Handgelenk zu sehen ( Herzfrequenz, Geschwindigkeit, pace etc etc )
Nettes Feature dazu beim Sport:
SMS oder Whatsapp Benachrichtigungen nicht verpassen ohne das Handy rauszuholen ( Verringert Sturz und Wasserschaden Gefahr)
Beim Laufen ne WhatsApp-Nachricht zu verpassen wäre natürlich fatal!!!
Und wieviel schwitzt du bitte um Angst vor nem Wasserschaden zu haben?
Siehst du den roten Knopf auf der Fernbedienung?
Du drückst erstmal drauf, tust die Chipstüte und Süßigkeiten bei Seite.
Dann stehst du vom Sofa auf, ziehst dich um und gehst du erstmal raus. Das ist dann die echte Welt in der wir leben.
Sooo!! Danach kannst du dich entscheiden:
Fitnessstudio, Triathlon, Marathon, halb Marathon, Fahrradtour. Du wirst dich wundern was dein Körper so an Feuchtigkeit verliert 😉
Und falls du es noch nicht mitbekommen hast: ES REGNET IN DEUTSCHLAND!!!!
Und JA!!! ES SCHNEIT AUCH!!!!!
Langsam gefällt mir diese Unterhaltung
Kein Grund ausfällig zu werden. Und ich soll vom Sofa aufstehen und die Welt draußen betrachten? Sagt mir der Chipsfressende dickmops Pickelnerd, der Angst um verpasste WhatsApp-Nachrichten hat? Soll ich mal laut lachen?
Langweilig bist du auch noch dazu..
Aber du mit Deinen Tiraden bist dafür … *gähm
Und trägst auch enorm zu einer sachlichen Diskussion und Erkenntnisgewinn bei.
iAirUhr?!
Wer von euch nimmt welche Drogen um auf diesen Namen zu kommen?!
Du verstehst den Gag „Eieruhr“ schon noch, oder?!
Ach du Sch…. Da wär ich nie drauf gekommen! 🙂 danke für die Aufklärung! 😉
Wie Flo gestern angemerkt hat war das Patent vermutlich für eine Uhr auf dem iPod nano. Also vielleicht nicht mehr so interessant, außer dem Namen. Da sind ja Rechtsstreitigkeiten…
Genau das, kein Grund das olle Patent von vor Jahren (3?) als Hinweis auf eine „richtige Smartwatch“ verstehen zu müssen. Außerdem war das ne „Frickellösung“. Eigenständige Display-Einheit wäre rauszunehmen gewesen (iPod), Sensoren im Armband verbaut (also nicht wechselbar), usw.
Das Patent ist eh ein Witz bzw. das ganze System dahinter. Die Beschreibung ist so schwammig, das passt auf alles mögliche.
Es heißt iFit
Ich tippe auf eine Smartwatch für die Küche: iEruhr
Wie kann es in der Abstimmung zu negativen Anteilen kommen?! 😀 (-1% für iWrist)
Außer iWatch hört sich in der Umfrage alles beschissen an 😛
iAirUhr? WTF?
Weil Uhr ja auch so oft in amerikanischen Produktnamen benützt wird.
Du verstehst den Gag „Eieruhr“?!
Ist der Name nicht völlig egal?
Der Mehrwert an Funktionen ist das entscheidende und macht es als Produkt interessant.
Was nützt so eine Umfrage?
Sagt mal….. Wenn ich ein Smartphone mit dem pebble etc dauerhaft verbinde? Frisst das nicht enorm akku?
Nein, zum einen wegen Bluetooth Low Energy (LE/4.0), zum anderen wird zwar die Verbindung aufrecht gehalten, aber nicht den ganzen lieben langen Tag Daten rübergeschaufelt wie bspw. bei BT Lautsprechern.
IerUhr
Apple hatt bestimmt auch ein Patent eingereicht dass eine revolutionäre Neuerung beschreibt, die es ermöglicht den genauen Zeitpunkt des Tages anhand diverser Faktoren zu berechnen und in digitaler Form anzeigen zu lassen. 🙂
Schwierig umzusetzen. Sollte es Apple trotzdem hinbekommen, ist das Ding gekauft. Da ist mir der Name egal
Das glaube ich nicht, denn Apple ist ja nicht einmal fähig, den Tag in einem Kalender richtig anzuzeigen.
EierUhr
Ganz einfach:clock